| Начало раздела Производственные, любительские Радиолюбительские Авиамодельные, ракетомодельные Полезные, занимательные  | Хитрости мастеру Электроника Физика Технологии Изобретения  | Тайны космоса Тайны Земли Тайны Океана Хитрости Карта раздела  | |
| Использование материалов сайта разрешается при условии ссылки (для сайтов - гиперссылки) | |||
Навигация: =>  | На главную/ Каталог патентов/ В раздел каталога/ Назад / | 
  | 
ИЗОБРЕТЕНИЕ
Патент Российской Федерации RU2230395
![]()
СОЛНЕЧНАЯ ЭЛЕКТРОСТАНЦИЯ
Имя изобретателя: Прокопов О.И. (RU); Ярмухаметов У.Р. (RU); Швейкин Е.В. 
Имя патентообладателя: Башкирский государственный аграрный университет
Адрес для переписки: 450001, г.Уфа, ул. 50 лет Октября, 34, БГАУ
Дата начала действия патента: 2002.11.10 
Изобретение относится к солнечным электростанциям, предназначенным для преобразования солнечной лучистой энергии в электричество. Сущность: солнечная электростанция состоит из вертикального вала с приводом его вращения, на верхнем конце которого установлен горизонтальный вал с приводом его вращения, при этом на горизонтальном валу закреплена солнечная фотобатарея с командными фотоэлементами зенитального и азимутального поворота валов слежения за солнцем за счет реверсивного включения их приводов. С обратной стороны солнечной фотобатареи установлен дополнительный задний фотоэлемент, который подает сигнал на привод вертикального вала левого поворота, когда солнце расположено с обратной стороны, например утром.
ОПИСАНИЕ ИЗОБРЕТЕНИЯ
Изобретение относится к солнечным электростанциям, предназначенным для преобразования солнечной лучистой энергии в электрическую как в солнечную погоду, так и в пасмурную.
Известна солнечная электростанция для преобразования солнечной лучистой энергии в электрическую, включающая в себя вертикальный и горизонтальный валы поворота, на последнем из которых установлена солнечная фотобатарея, которая имеет систему поворота валов ориентации фотобатареи на солнце [1].
Недостатком электростанции является низкая эффективность, т.к. зенитальная установка производится вручную раз в месяц или квартал, что соответствует усредненному азимуту по широте и времени года. Поворот электростанции суточный осуществляется автоматически посредством двух цилиндрических (левый и правый) термоприводов, нагреваемых солнечными лучами, что имеет малую надежность в условиях низких температур и высоких ветровых нагрузок. Недостатком и является полное отсутствие возврата станции в исходное положение вечер-утро.
Прототипом изобретения является солнечная электростанция, включающая в себя вертикальный вал с приводом азимутального поворота, на котором закреплена площадка, а на верхнем конце упомянутого вала, выше площадки, установлен горизонтальный вал с приводом зенитального поворота, на котором закреплена солнечная фотобатарея, снабженная системой автоматики зенитального и азимутального привода слежения за солнцем, включающие в себя командные фотоэлементы малоточных реле и исполнительных реле приводов реверсивных двигателей [2].
Недостатком прототипа является низкая надежность в условиях переменной или временной облачности, невозможность автоматической установки в рабочее положение утром. Это объясняется тем, что следящее устройство выполнено на фотоэлементах размещенных в трубке. При несколько минутной облачности, при отсутствии солнечного луча, это устройство не действует, а после облачности солнечный луч в трубку устройства уже не попадает и станция больше не ориентируется по солнцу - наступает отказ. А при переменной облачности за день это может произойти сотни раз. Даже в чисто солнечную погоду с наступлением ночи станция “смотрит” на закат, а утром на восход солнца с востока. Станция развернуться не может, требуется ручная наводка.
Настоящее изобретение позволяет получить новый технический эффект - круглосуточная надежность работы с автоматическим слежением за солнцем независимо от погоды.
Этот технический эффект достигается тем, что командные фотоэлементы малоточных реле, установленные в четырех плоскостях относительно сторон солнечной фотобатареи, преимущественно под углом 250...255 градусов к ее активной поверхности; на вертикальном валу азимутального поворота установлен дополнительный командный фотоэлемент в обратную сторону азимутального слежения под углом к плоскости горизонта, равным половине максимального зенитального угла солнца, а контакты его малоточного реле запараллелены в цепь электропитания последовательно через нормально замкнутые контакты исполнительных реле левого и правого поворотов азимутального слежения и нормально разомкнутые контакты его исполнительного реле, при этом нормально разомкнутые контакты исполнительного реле левого поворота запаралеллены нормально разомкнутыми контактами исполнительного реле дополнительного фотоэлемента.
![]()  | ![]()  | 
На фиг.1 показан общий вид солнечной электростанции.
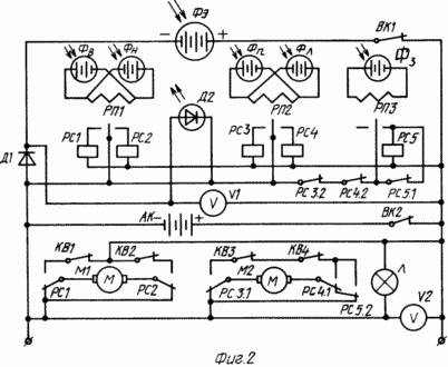
На фиг.2 показана электрическая схема электростанции.
Электростанция состоит из основания 1, на котором на опорном подшипнике 2 установлен вертикальный вал 3 с ведущим зубчатым колесом 4, контактирующим с винтовым валом 5 реверсивного электропривода 6 (М2) постоянного тока. Выше вал 3 снабжен муфтой 7 с опорной крестовиной 8, а над муфтой 7 на этом валу 3 закреплена горизонтальная площадка 9. На верхнем конце вала 3 установлен горизонтальный вал 10, на котором жестко закреплены зубчатое колесо 11 и солнечная фотобатарея 12 (ФЭ) электростанции. Зубчатое колесо 11 вала 10 цепной передачей 13, с определенной редукцией, связано с зубчатым колесом 14 вала реверсивного электропривода 15 (Ml) постоянного тока. На солнечной фотобатарее 12 (ФЭ) закреплены два боковых, левый 16 (Фл) и правый 17 (Фп), командных фотоэлемента и два, нижний 18 (Фн) и верхний 19 (Фв), командных фотоэлемента.
Все эти фотоэлементы 16, 17, 18 и 19 относительно рабочей поверхности фотобатареи 12 (ФЭ) преимущественно установлены под углом 250...255 градусов. На площадке 9, обратно слежению за солнцем, на кронштейне 20 установлен дополнительный задний фотоэлемент 21 (Фз), установленный к плоскости горизонта под углом половины максимального зенитального угла солнца. Этот угол объясняется тем, чтобы обеспечить эффективный прием фотоэлементом 21 (Фз) солнечных лучей при любом зенитальном положении солнца с обратной стороны электростанции. Для экватора максимальный зенитальный угол солнца составляет 66,5...90º, для наших средних широт - 15...40º, в зависимости от времени года. Тогда, соответственно, углы зенитальной установки фотоэлемента 21 (Фз) составляют 33...45º и 7,5...20º, а это соответствует коэффициенту отражения 5...6% и 4.7...4.7%. Учитывая, что при прямом угле падения солнечного луча коэффициент отражения составляет 4,7%, следует, что для простоты конструкции такая установка фотоэлемента 21 целесообразна.
Углы установки командных фотореле 16, 17, 18 и 19 обосновываются из тех же позиций, т.е. относительно солнечных лучей они постоянно находятся под углом 15...20º, с отражением до 39%, при отклонении солнца на 15...20º, рабочий угол с одной стороны увеличивается на эту величину, а с другой уменьшается. Тогда с одной стороны отражение световых лучей доходит 6,6...9,8%, с другой до 100%. Этим обеспечивается эффективность работы упомянутых фотоэлементов.
Электрическая схема солнечной электростанции включает в себя солнечную фотобатарею “ФЭ” электростанции, которая через выключатель ВК1 имеет выводы + и - постоянного тока к потребителю. В системе электроснабжения электростанции через обратный диод “Д1” подсоединен аккумулятор “АК” с выключателем “ВК2”, а и до диода “Д1” установлен вольтметр “V1” измерения напряжения солнечной фотобатареи “ФЭ”. На выходе электростанции и установлен вольтметр “V2” напряжения в сети электроснабжения и амперметр “А”. Она снабжена двумя командными зенитальными фотоэлементами - верхний “Фв” и нижний “Фн”, соединенные встречно с обмоткой поляризованного малоточного реле “РП1”, двумя азимутальными командными реле - правый “Фп” и левый “Фл”, соединенные встречно с обмоткой поляризованного малоточного реле “РП2”, а и командным фотоэлементом “Фз”, установленным с обратной стороны солнечной ориентации, который подключен к обмотке поляризованного реле “РП3”. Все промежуточные малоточные реле “РП1”, “РП2” и “РП3” имеют нейтральный якорь с левыми и правыми контактами замыкания, в цепи которых установлены обмотки исполнительных реле, соответственно на “РП1”-“РС1” и “РС2”, на “РП2”-“РС3” и “РС4”, на “РП3”-“РС5”. Все исполнительные реле “РС1”...“РС5” через якоря “РП1”, “РП2”, “РП3” напрямую подключены в сеть питания электростанции, а реле “РС5” имеет параллельную дополнительную цепочку, включающую в себя нормально замкнутые контакты “РС3.2”, “РС4.2” и нормально разомкнутые собственные контакты “РС5.1”.
Все нормально замкнутые контакты исполнительных реле “РС1”, “РС2”, “РС3” и “РС4” подключены к одной фазе электропитания, например “-”, а их нормально разомкнутые контакты - к другой фазе электропитания, например “+”, при этом каждая из этих цепей снабжена нормально замкнутыми контактами концевых выключателей, соответственно “КВ1”, “КВ2”, “КВ3” и “КВ4”. Между якорями реле “РС1” и “РС2” подключен реверсивный двигатель “M1” постоянного тока, а между якорями реле “РС3” и “РС4” - реверсивный двигатель “М2”. При этом нормально разомкнутые контакты “РС4.1” запараллелены нормально разомкнутыми контактами “РС5.2”. Для визуального контроля в цепи фотобатареи “ФЭ” включен светодиод “Д2”, а на выходе - сигнальная лампа “Л”.
ЭЛЕКТРОСТАНЦИЯ РАБОТАЕТ СЛЕДУЮЩИМ ОБРАЗОМ
Солнечная фотобатарея “ФЭ” электростанции ориентируется на солнечные световые лучи и вырабатывает расчетную электрическую энергию по напряжению и постоянному току. При включенном выключателе “ВК1” обеспечивает электропитанием потребителя, а при включенном выключателе “ВК2” производится зарядка аккумулятора “АК”, который при падении напряжения на фотобатарее “ФЭ”, например при облачности или ночью, обеспечивает потребителя электропитанием. При этом вольтметр “V1” показывает истинное напряжение на фотобатарее “ФЭ”, a “V2” - на выходе электростанции с учетом аккумулятора “АК”.
Диод “Д1” предотвращает нагрузку аккумулятора “АК” на электрическую сеть фотобатареи “ФЭ” при ее неработе. Работа фотобатареи “ФЭ” контролируется световым диодом “Д2”, а всей станции - сигнальной лампой “Л”.
С утра начинается зенитальное и азимутальное перемещение солнца. С увеличением зенитального угла солнца на 15...20º ведет к освещению верхнего фотоэлемента “Фв”, в котором вырабатывается электрический постоянный ток и подается на обмотку “РП1” в одном направлении, при этом фотоэлемент “Фн” нижний затемняется и не вырабатывает электроэнергию. Обмотка “РП1” притягивает якорь реле “РП1” и замыкает его левые контакты и ставит под ток обмотку исполнительного реле “РС1”, которое размыкает свои нормально замкнутые контакты “РС1” и замыкает нормально разомкнутые контакты “РС1”, тем самым перебрасывает свой якорь на вторую фазу, в частности на “+”, и через контакты “КВ1” и нормально замкнутые контакты “РС2” ставит под ток реверсивный двигатель “Ml” (15), который своим валом приводит во вращение зубчатое колесо 14 и через цепную передачу 13 - зубчатое колесо 11 с валом 10, с закрепленным на нем фотобатареей “ФЭ” по часовой стрелке (по чертежу), т.е. увеличивая зенитальный угол. Происходит выравнивание освещенности фотоэлементов верхнего “Фв” и нижнего “Фн”, в которых вырабатываются одинаковые малые токи встречно на обмотку реле “РП1”, которая обесточивается и опускает свой якорь “РП1”, соответственно обесточивается обмотка исполнительного реле “РС1”, последнее отпускает свой якорь “РС1” и обесточивает реверсивный привод “М1”, прекращается зенитальный поворот. При дальнейшем повышении зенитального угла солнца описанная операция повторяется в течение первой половины дня.
В течение второй половины дня происходит снижение зенитального угла солнца.
С уменьшением зенитального угла солнца на 15...20º ведет к освещению нижнего фотоэлемента “Фн”, в котором вырабатывается электрический постоянный ток и подается на обмотку “РП1” в другом направлении, при этом фотоэлемент “Фв” верхний затемняется и не вырабатывает электроэнергию. Обмотка “РП1” притягивает якорь реле “РП1” и замыкает его правые контакты и ставит под ток обмотку исполнительного реле “РС2”, которое размыкает свои нормально замкнутые контакты и замыкает нормально разомкнутые контакты “РС2”, тем самым через нормально замкнутые контакты “КВ2” и “РС1” ставит под ток реверсивный привод “M1” (15), который своим валом приводит в обратное вращение зубчатое колесо 14 и через цепную передачу 13 - зубчатое колесо 11 с валом 10, с закрепленной на нем фотобатарееей “ФЭ” против часовой стрелки (по чертежу), т.е. уменьшает зенитальный угол. Происходит выравнивание освещенности фотоэлементов нижнего “Фн” и верхнего “Фв”, в которых вырабатываются одинаковые малые токи встречно на обмотку реле “РП1”, последняя обесточивается и опускает свой якорь “РП1”, соответственно обесточивается обмотка исполнительного реле “РС2”, последнее опускает свой якорь “РС2” и обесточивает реверсивный привод “M1”. Прекращается зенитальный поворот. При дальнейшем уменьшении зенитального угла солнца цикл работы повторяется до заката солнца.
В то же время солнце меняет азимутальное положение в течение дня от востока до запада. В этом случае таким же образом происходит увеличение угла падения солнечных лучей на правый фотоэлемент “Фп” и затемнение левого фотоэлемента “Фл”. Правый фотоэлемент вырабатывает ток, который подается на обмотку реле “РП2”, последняя срабатывает, и замыкает якорь “РП2” на левый контакт, и ставит под ток обмотку исполнительного реле “РС3”, которая размыкает свои нормально замкнутые контакты и замыкает нормально разомкнутые контакты “РС3.1”, тем самым ставит под ток реверсивный привод “М2”(6). Последний через червячный вал 5 и зубчатое колесо 4 вращает вертикальный вал 3 вправо и разворачивает всю станцию по азимутальному положению солнца. При азимутальном выравнивании оба фотоэлемента “Фп” и “Фл” под малым углом к солнечным лучам вырабатывают одинаковые малые токи, которые уравновешиваются на обмотке “РП2”, последняя обесточивается и опускает свой якорь “РП2”. Цепь питания исполнительного реле “РС3” обесточивается, которое опускает свой якорь “РС3.1” и обесточивает привод “М2” (6). Азимутальный поворот станции прекращается. При дальнейшем азимутальном изменении солнца операция повторяется до заката солнца.
Электростанция ночует “задом” к востоку.
Утром при восходе солнца его лучи падают на задний фотоэлемент “Фз” (21), последний вырабатывает электрический ток на обмотку реле “РП3”, которое своим якорем замыкает цепь питания исполнительного реле “РС5”. Последнее замыкает свои контакты “РС5.1” и самоблокируется через нормально замкнутые контакты реле “РС3.1” и “РС4.2”, в то же время контактами реле “РС5.2” ставится под ток реверсивный привод “М2” (6), который через червячный вал 5 и зубчатое колесо 4 вращает вертикальный вал 3 влево и разворачивает всю станцию до тех пор, пока солнечные лучи упадут на левый фотоэлемент “Фл” под углом 15...20º, т.е. при ориентации станции к солнцу под углом 140...150º. Последний вырабатывает электрический ток на обмотку “РП2” обратного направления и замыкает свой якорь на правый контакт “РП2”, тем самым ставит под ток исполнительное реле “РС4”, которое своими контактами “Р4.2” размыкает цепь питания реле “РС5, замыкает свои контакты “РС4.1” и продолжается разворот электростанции вышеописанным образом до выравнивания освещенности фотоэлементов “Фп” и “Фл”. Соответственно обесточенное реле “РС5” опускает свои контакты “РС5.2” и “РС5.1”, схема приходит в исходное положение.
После такого азимутального разворота одновременно начинают работать фотоэлементы “Фв” и “Фн”, которые описанным образом обеспечивают зенитальную ориентацию станции.
По условиям погоды (облачность, дождь) ориентация электростанции может прекратиться в любом ее положении, например в любое время дня между восходом и закатом солнца. В этом случае с выходом солнца под лучи попадает или задний “Фз”, или “Фл”, и станция в любом случае будет ориентироваться описанным образом. В переменную облачность азимутальный разворот солнца будет происходить за счет работы фотоэлемента “Фп”.
В случае если ориентация станции прекратилась до азимутального угла заката более чем на 145...150º, т.е. практически с утра до вечера, то вечерние лучи не будут возбуждать правый фотоэлемент “Фп”, но зато попадут на задний фотоэлемент “Фз”. Произойдет описанным образом разворот станции на восток (влево). В этом случае не один из “Фп” и “Фл” не попадут под лучи солнца. Станция будет разворачиваться до тех пор, пока нажмет и выключит концевой выключатель “КВ4” левого ограничения поворота, оставаясь в готовности работы с восходом солнца. Утром с восходом солнца лучи попадают на “Фп”, и описанным образом обеспечивается азимутальный правый поворот электростанции, при этом отпускается концевой выключатель “КВ4”, обеспечивая цепь питания левого поворота.
Во всей цепи питания работы приводов “M1” и “М2” поворотов соответственно включены концевые выключатели “КВ1”, “КВ2”, “КВ3” и “КВ4”, исключающие аварийные ситуации в работе электросхем, а и возможные срабатывания в ночное время от случайных источников света, например фар автомобилей, прожекторов и др.
Релейные схемы могут быть собраны на электронных реле. Правый поворот станции исключен для избежания применения ряда контактных колец. Таким образом обеспечиваются круглосуточная зенитальная и азимутальная самоориентация станции, простота и высокая надежность.
ИСТОЧНИКИ ИНФОРМАЦИИ
1. Подсолнух на солнечных батареях. НПП “Квант”, Москва, 2002 г.
2. Р.Р.Апариси, Б.А.Гарф “Использование солнечной энергии”; М. Академия наук, 1958 г., стр. 39-43. (Прототип).
ФОРМУЛА ИЗОБРЕТЕНИЯ
1. Солнечная электростанция, включающая в себя вертикальный вал с приводом азимутального поворота, на котором закреплена площадка, а на верхнем конце выше площадки установлен горизонтальный вал с приводом зенитального поворота, на котором закреплена солнечная фотобатарея, снабженная системой автоматики зенитального и азимутального приводов слежения за солнцем, включающая в себя командные фотоэлементы малоточных реле и исполнительных реле приводов реверсивных двигателей, отличающаяся тем, что командные фотоэлементы малоточных реле, установленные в четырех плоскостях относительно сторон солнечной фотобатареи, преимущественно под углом 250-255º к ее активной поверхности.
2. Солнечная электростанция по п.1, отличающаяся тем, что на вертикальном валу азимутального поворота установлен дополнительный командный фотоэлемент в обратную сторону азимутального слежения под углом к плоскости горизонта, равным половине максимального зенитального угла солнца, а контакты его малоточного реле запараллелены в цепь электропитания последовательно через нормально замкнутые контакты исполнительных реле левого и правого поворотов азимутального слежения и нормально разомкнутые контакты его исполнительного реле, при этом нормально разомкнутые контакты исполнительного реле левого поворота запараллелены нормально разомкнутыми контактами исполнительного реле дополнительного фотоэлемента.
Версия для печати
Дата публикации 03.02.2007гг
Created/Updated: 25.05.2018
 |


