| Начало раздела Производственные, любительские Радиолюбительские Авиамодельные, ракетомодельные Полезные, занимательные | Хитрости мастеру Электроника Физика Технологии Изобретения | Тайны космоса Тайны Земли Тайны Океана Хитрости Карта раздела | |
| Использование материалов сайта разрешается при условии ссылки (для сайтов - гиперссылки) | |||
Навигация: => | На главную/ Каталог патентов/ В раздел каталога/ Назад / |
|
ИЗОБРЕТЕНИЕ
Патент Российской Федерации RU2246635
![]()
ВЕТРОДВИГАТЕЛЬ ДЛЯ ВЕТРЯКА С ВЕРТИКАЛЬНОЙ ОСЬЮ ВРАЩЕНИЯ
Имя изобретателя: Бутаков Александр Николаевич
Имя патентообладателя: Бутаков Александр Николаевич
Адрес для переписки: 660075, г.Красноярск, ул. Железнодорожников, 21, кв.43, А.Н. Бутакову
Дата начала действия патента: 2003.05.16
Изобретение относится к ветроэнергетике и может быть использовано для создания ветроэлектростанций. Технический результат заключается в упрощении конструкции ветродвигателя и увеличении коэффициента использования энергии ветра. Ветродвигатель с вертикальной осью вращения представляет собой ротор, содержащий вертикальный вал, имеющий ярусы из кронштейнов и лопасти, жестко установленные вдоль оси вращения. Дополнительно двигатель содержит кожух в виде призмы, расположенный между кронштейнами соосно с валом, и горизонтальные экраны, при этом лопасти выполнены в виде аэродинамических крыльев с односторонними элеронами, обращенными в сторону кожуха и находящимися на расстоянии не более длины носка крыла, причем каждый из элеронов закреплен шарниром в тело носка крыла таким образом, что свободным концом может быть оперт на грань кожуха.
ОПИСАНИЕ ИЗОБРЕТЕНИЯ
Изобретение относится к ветроэнергетике и может быть использовано для создания ветроэлектростанций.
Известен ветродвигатель с вертикальной осью вращения, представляющий собой ротор, содержащий вертикальный вал, имеющий ярусы из кронштейнов и лопасти, жестко установленные вдоль оси вращения (см., например, SU 1455036 А1, кл. F 03 D 3/00, 30.01.1989), по совокупности существенных признаков принятый за ближайший аналог изобретения (прототип).
К недостаткам прототипа относятся сложность конструкции, невысокая надежность и низкий коэффициент полезного действия (КПД).
Технический результат заключается в упрощении конструкции ветродвигателя и увеличении коэффициента использования энергии ветра и обеспечивается за счет того, что ветродвигатель с вертикальной осью вращения, представляющий собой ротор, содержащий вертикальный вал, имеющий ярусы из кронштейнов и лопасти, жестко установленные вдоль оси вращения, согласно изобретению, дополнительно содержит кожух в виде призмы, расположенный между кронштейнами соосно с валом, и горизонтальные экраны, при этом лопасти выполнены в виде аэродинамических крыльев с односторонними элеронами, обращенными в сторону кожуха и находящимися на расстоянии не более длины носка крыла, причем каждый из элеронов закреплен шарниром в тело носка крыла таким образом, что свободным концом может быть оперт на грань кожуха.
Элероны подпружиненными шарнирнотелескопическими тягами попарно соединены с установленными вдоль стенок кожуха вертикальными поворотными лопастями.
С противоположной стороны, служащей опорой элерону, каждая грань кожуха имеет скос, составляющий с касательной к окружности вращения угол не менее 15 градусов.
![]()
| ![]() |
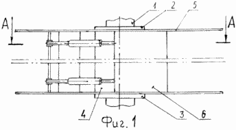
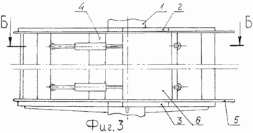
![]() | На фиг.1 изображен ветродвигатель с двумя неповоротными лопастями, общий вид; на фиг.2 изображен ветродвигатель, разрез по А-А; на фиг.3 изображен ветродвигатель с тремя неповоротными лопастями, общий вид; на фиг.4 изображен ветродвигатель, разрез по Б-Б. Ветродвигатель представляет собой вертикальный вал 1, расположенные в два яруса и жестко присоединенные к нему кронштейны 2 и 3, между которыми соосно с валом помещен кожух 4, охваченный с торцов экранами 5. Концы кронштейнов 2, 3 попарно соединены неповоротными вертикальными лопастями 6, представляющими собой аэродинамическое крыло с элероном 7, который с внутренней стороны лопасти 6 присоединен шарниром 8 к носку размером 1. Крыло может быть в сжатом (исходном) или в развернутом (рабочем) положении. Во втором случае поворот элерона 7 ограничен его опорой на грань кожуха 4. |
Кроме указанного, каждый элерон 7, посредством размещенных в его хвостовой части петель 9, подпружиненными шарнирнотелескопическими тягами 10 соединен с вертикальными поворотными лопастями 11, которые шарнирами 12 присоединены к кронштейнам 2, 3 и кожуху 4.
Принцип действия ветродвигателя заключается в том, что независимо от направления ветра вал 1 приводится во вращательное движение вокруг оси “0” и работает следующим образом.
Так, при одном из худших для пуска местоположений подвижных частей ветродвигателя, когда все элероны 7 и лопасти 11 находятся в исходном положении, направление ветра может оказаться для одних лопастей 6 встречным, а для других - попутным. Встречное направление ветра прижмет лопасть 11 к кожуху 4, элерон 7 к лопасти 6. В таком состоянии они не оказывают ветру большого сопротивления.
С другой стороны ветродвигателя при попутном направлении ветра поток воздуха,
действуя на хвостовую часть элерона 7 и по скосам с углом
,
составляющим не менее 15 градусов, упираясь в хвостовую часть лопасти 11, повернет их
вокруг собственных осей вращения 8, 12 так, что элерон 7 будет оперт на грань кожуха 4.
Одновременно с этим, амортизируя возможные толчки, достигнет предельной длины тяга 10, которая удержит лопасть 11 в крайнем рабочем положении, что в свою очередь даст возможность удерживать в рабочем положении элерон 7.
При дальнейшем воздействии напора воздуха на лопасть 11, огражденную кожухом 4 и экраном 5 с трех сторон, произойдет увеличение крутящего момента, который может превзойти момент сопротивления на валу 1. Он будет повернут на угол, при котором элерон 7, огражденный по периметру кожухом 4, экранами 5 и лопастью 6, окажется в рабочем положении, чем значительно увеличит вращающий момент и угловую скорость поворота вала.
В результате вал 1 будет повернут так, что другие последующие лопасти 6 и 11 займут первоначальное, аналогичное рассмотренному исходное положение. Цикл будет повторен раз за разом, что приведет к вращению вала с соответствующей скоростью.
ФОРМУЛА ИЗОБРЕТЕНИЯ
1. Ветродвигатель с вертикальной осью вращения, представляющий собой ротор, содержащий вертикальный вал, имеющий ярусы из кронштейнов и лопасти, жестко установленные вдоль оси вращения, отличающийся тем, что дополнительно содержит кожух в виде призмы, расположенный между кронштейнами соосно с валом, и горизонтальные экраны, при этом лопасти выполнены в виде аэродинамических крыльев с односторонними элеронами, обращенными в сторону кожуха и находящимися на расстоянии не более длины носка крыла, причем каждый из элеронов закреплен шарниром в тело носка крыла таким образом, что свободным концом может быть оперт на грань кожуха.
2. Ветродвигатель по п.1, отличающийся тем, что элероны подпружиненными шарнирно-телескопическими тягами попарно соединены с установленными вдоль стенок кожуха вертикальными поворотными лопастями.
3. Ветродвигатель по п.1 или 2, отличающийся тем, что с противоположной стороны, служащей опорой элерону, каждая грань кожуха имеет скос, составляющий с касательной к окружности вращения угол не менее 15 градусов.
Версия для печати
Дата публикации 31.01.2007гг
Created/Updated: 25.05.2018
|




