| Начало раздела Производственные, любительские Радиолюбительские Авиамодельные, ракетомодельные Полезные, занимательные | Хитрости мастеру Электроника Физика Технологии Изобретения | Тайны космоса Тайны Земли Тайны Океана Хитрости Карта раздела | |
| Использование материалов сайта разрешается при условии ссылки (для сайтов - гиперссылки) | |||
![]() | ![]() | ![]() |
На фиг.1 изображен преобразователь энергии текучей среды (общий вид);
На фиг.2 изображен узел изменения ориентации и фиксации положения лопасти (первый вариант);
На фиг.3 - вид А-А на фиг.2;
![]() | ![]() |
На фиг.4 - узел изменения ориентации и фиксации положения лопасти (второй вариант);
На фиг.5 - узел изменения ориентации и фиксации положения лопасти (третий вариант);
![]() | ![]() |
На фиг.6 изображен конический флюгер (вид сбоку);
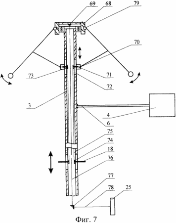
На фиг.7 изображен центробежный регулятор скорости вращения преобразователя энергии;
![]() | ![]() |
На фиг.8 изображен преобразователь энергии, установленный в потоке воды (реке);
На фиг.9 изображено положение вагонеток на круговой дорожке;
![]() | ![]() | ![]() |
На фиг.10 - вид А-А на подпорную планку узла изменения ориентации и фиксации положения лопасти;
На фиг.11 - вид В-В по фиг.10;
На фиг.12 - вид на барабан по фиг.5;
![]() | ![]() | ![]() |
На фиг.13 - вид А-А по фиг.12;
На фиг.14 - вид на наклонный паз в левом барабане;
На фиг.15 - вид на наклонный паз в правом барабане;
![]() | ![]() | ![]() | ![]() |
На фиг.16-17 представлено положение (ориентация) магнитов левых половин лопасти (Nл-Sл) и вагонетки (Nв-Sв) в точках изменения ориентации до и после переключения (штрих-пунктиром);
На фиг.18-19 представлено положение (ориентация) магнитов правых половин лопасти (Nл-Sл) и вагонетки (N в-Sв) в точках изменения ориентации до и после переключения (штрих-пунктиром);
![]() | ![]() |
На фиг.20 изображен совмещенный (гибридный) ветрогидропреобразователь энергии;
На фиг.21 изображен узел изменения ориентации и фиксации положения лопасти (четвертый вариант);
![]() | ![]() | ![]() | ![]() |
На фиг.22 - вид А по фиг.21;
На фиг.23 - вид В-В по фиг.21;
На фиг.24 изображена конструкция головки ограничительного рычага;
На фиг.25 изображен ограничительный упор;
![]() | ![]() | ![]() |
На фиг.26 изображена конструкция механизма подъема и выдвижения ограничительного пальца;
На фиг.27 изображен срез диска сцепления;
На фиг.28 изображены положения диска сцепления после каждого цикла;
![]() | ![]() |
На фиг.29 изображен узел изменения ориентации и фиксации положения лопасти по фиг.22 (пятый вариант);
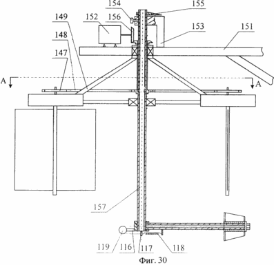
На фиг.30 изображен преобразователь энергии (подводный вариант);
![]() | ![]() |
На фиг.31 - вид А-А по фиг.30 (кинематическая связь между звездочками платформ);
На фиг.32 изображена кинематическая связь между звездочками платформ в случае, когда флюгера конической формы установлены на двух диаметрально противоположных платформах;
![]() | ![]() |
![]() |
На фиг.33 - узел изменения ориентации и фиксации положения лопасти (шестой вариант);
На фиг.34 - кинематическая связь между внутренними звездочками и полузвездочками;
На фиг.35 - узел изменения ориентации и фиксации положения лопасти;
![]() | ![]() |
На фиг.36 изображена цепная связь между звездочками.
На фиг.37 изображено коромысло со сдвоенными наконечниками;
![]() | ![]() |
![]() | ![]() |
На фиг.38 изображена конструкция коромысла (второй вариант) с одинарными наконечниками;
На фиг.39 - вид сверху по фиг.37;
На фиг.40 изображена кинематическая связь между первой центральной звездочкой и четырьмя звездочками с помощью первой цепи по фиг.39;
На фиг.41 - связь соединения центральной первой звездочки с двумя звездочками с помощью первой цепи с помощью коромысла по фиг.38;
![]() | ![]() |
![]() |
На фиг.42 - преобразователь энергии с платформами, вращающимися в вертикальной плоскости;
На фиг.43 - вид В по фиг.42;
На фиг.44 - вид А по фиг.42.
Преобразователь энергии текучей среды содержит:
|
|
Created/Updated: 25.05.2018
|












































