| Начало раздела Производственные, любительские Радиолюбительские Авиамодельные, ракетомодельные Полезные, занимательные  | Хитрости мастеру Электроника Физика Технологии Изобретения  | Тайны космоса Тайны Земли Тайны Океана Хитрости Карта раздела  | |
| Использование материалов сайта разрешается при условии ссылки (для сайтов - гиперссылки) | |||
Навигация: =>  | На главную/ Каталог патентов/ В раздел каталога/ Назад / | 
  | 
ИЗОБРЕТЕНИЕ
Патент Российской Федерации RU2134928
![]()
УСТРОЙСТВО ДЛЯ ПОЛУЧЕНИЯ ЭЛЕКТРИЧЕСКОЙ ЭНЕРГИИ
Имя изобретателя: Токарев Владимир Омарович; Цатурян Тигран Григорьевич; Цатурян Рубен Григорьевич
Имя патентообладателя: Токарев Владимир Омарович; Цатурян Тигран Григорьевич; Цатурян Рубен Григорьевич
Адрес для переписки: 129327, Москва, ул.Ленская 23, кв.352, Токареву В.О.
Дата начала действия патента: 1998.06.18
Изобретение относится к электротехнике и может быть использовано для получения электрической энергии путем преобразования тепловой энергии плазмы в электрическую. Устройство содержит установленный в стакане корпус с анодом и катодом, смонтированный на корпусе лучепровод, выполненный в виде конического сопла. Угол при вершине усеченного конуса лучепровода выбирают в интервале от 18до 36o. Лучепровод через камеру с выполненными в последней отверстиями соединен с экраном, состоящим из двух соединенных меньшими основаниями усеченных конусов. Под экраном в стакане имеется подложка для плазмообразующего материала. В полости конуса экрана, обращенного к подложке, размещен коллектор. Полости корпуса и стакана перед работой устройства вакуумируются. Лучепровод установлен на корпусе с возможностью настроечного перемещения. Отверстия камеры выполнены в одной плоскости и имеют разные размеры, причем суммарная площадь отверстий камеры не менее площади отверстия сопряжения оснований конусов экрана. Изобретение позволяет создать оптимальные условия для закручивания плазменного потока для повышения КПДустройства и увеличить время его работы.
ОПИСАНИЕ ИЗОБРЕТЕНИЯ
Изобретение относится к электротехнике и может быть использовано для получения электрической энергии путем преобразования тепловой энергии плазмы в электрическую.
Известно устройство для получения электрической энергии, в котором полученную в термоядерном реакторе плазму перемещают по каналам через установленные на пути ее перемещения коллекторные решетки типа "венецианские жалюзи". (см. патент США N 3816771, кл. 310-5, 1974 г.).
Недостатками данного технического решения являются сложность и дороговизна изготовления оборудования, значительные габариты конструкции и недостаточный уровень экологической безопасности, характерный для эксплуатации ядерных реакторов.
Известно устройство для получения электрической энергии, содержащее установленные в корпусе катод, анод и систему нагрева катода, причем на корпусе закреплен лучепровод, выполненный в виде конического сопла и через камеру с выполненными в последней отверстиями соединенный с экраном, представляющим собой два соединенных друг с другом меньшими основаниями усеченных конуса, а вершина конуса сопла находится в плоскости сопряжения усеченных конусов, при этом корпус и лучепровод с экраном размещены в стакане, в нижней части которого установлена подложка из плазмообразующего материала, а в полости конуса, обращенного к подложке, расположен коллектор. (см. пат. РФ, N 2105407, кл. H 02 N 3/00, 1997 г.) - наиболее близкий аналог.
В результате анализа конструкции необходимо отметить, что затруднена настройка лучепровода, что снижает эффективность эксплуатации устройства. Замена подложек из плазмообразующего материала сопряжена с трудностями и неудобствами, а условия закручивания плазменного потока не позволяют обеспечить высокий КПД.
Задачами, решаемыми настоящим изобретением, являются повышение эффективности работы устройства путем обеспечения точной регулировки положения лучепровода, а и создание оптимальных условий для закручивания плазменного потока и увеличение времени работы устройства.
Задачи решаются тем, что в устройстве для получения электрической энергии, содержащем установленный в стакане корпус с анодом и катодом, имеющим возможность соединения с источником электропитания, размещенным в корпусе, смонтированный на корпусе лучепровод, выполненный в виде конического сопла, через камеру с выполненными в ней отверстиями соединенный с экраном, состоящим из двух соединенных меньшими основаниями усеченных конусов, причем вершина конуса сопла расположена в плоскости сопряжения оснований конусов, а под экраном в стакане размещена подложка плазмообразующего материала, в полости конуса экрана, обращенного к подложке, установлен коллектор, причем экран и коллектор имеют электрические катушки и возможность соединения с источником питания и потребителем, а стакан - патрубки для соединения полостей корпуса и стакана с откачными насосами, новым является то, что лучепровод имеет угол при вершине усеченного конуса от 18 до 36 градусов, причем наиболее предпочтительные его значения находятся в интервале от 22 до 28 градусов, и установлен на корпусе с возможностью осевого настроечного возвратно-поступательного перемещения, а отверстия, выполненные в камере, расположены в одной плоскости и имеют разные размеры, причем отверстие большего размера обращено в сторону патрубка, предназначенного для соединения полости стакана с откачным насосом, при этом суммарная площадь отверстий камеры не превышает площади сопряжения оснований конусов экрана. Устройство снабжено дополнительными подложками, установленными на поворотном столе, снабженном приводом возвратно-поступательного перемещения в двух взаимно-перпендикулярных направлениях.
При проведении патентных исследований не обнаружены решения, идентичные заявленному, а следовательно, предложенное изобретение соответствует критерию "новизна".
Сущность предложенного решения не следует явным образом из известных, что позволяет сделать вывод о соответствии изобретения критерию "изобретательский уровень".
Сведений, изложенных в материалах заявки, достаточно для практического осуществления изобретения.
Сущность изобретения поясняется чертежом, на котором изображено устройство для получения электрической энергии, общий вид.
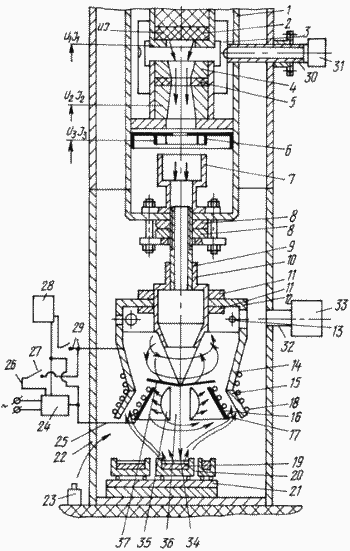
![]()  |  Устройство для получения электрической энергии состоит из корпуса 1, в котором размещены катод 2, прикатодный электрод 3, а и анод 4 с кольцами 5 и магнитная линза 6. На внутренней торцевой поверхности корпуса 1 установлен лучепровод 7. На наружной торцевой поверхности корпуса 1 закреплен механизм с резьбовыми гайками 8, которые навинчены на резьбовую часть втулки 9, скрепленной с лучепроводом 10. Резьба может быть выполнена на конце лучепровода 10 и гайки навинчены непосредственно на него. Резьбовое соединение лучепровода 10 с гайками 8 позволяет осуществлять настройку лучепровода, осуществляя его возвратно-поступательное перемещение в вертикальном направлении. На лучепроводе 10 посредством гаек 11 закреплена камера 12, на боковой поверхности которой выполнены по окружности отверстия 13, а на камере закреплен первый электрод (экран), выполненный в виде соединенных меньшими основаниями усеченных конусов 14 и 15. Все выполненные в камере отверстия расположены в одной плоскости и имеют разный размер, причем суммарная площадь отверстий 13 не менее площади отверстия сопряжения меньших оснований конусов 14 и 15. В полости конуса 15 размещен второй электрод (коллектор) 16 с электрической катушкой 17, а на первом электроде размещена электрическая катушка 18. Резьбовые поверхности деталей 8 и 9 образуют винтовую пару, что обеспечивает лучепроводу 10 возможность осевого возвратно-поступательного настроечного перемещения. Под электродами установлен плазмообразующий материал (подложка) 19. Подложка может быть размещена в огнеупорном тигле 20, установленном с возможностью вращения на поворотном столе 21, на котором и могут быть установлены дополнительные тигли с плазмообразующим материалом. Стол 21 имеет приводы поворота и возвратно-поступательного перемещения (например, в двух перпендикулярных направлениях). Конструкции данных столов известны, конструкция стола не является предметом защиты и поэтому в материалах заявки подробно не раскрыта.  |  
Корпус 1 и стол 21 размещены в стакане 22, который может быть выполнен сборным. Снаружи стакана может быть расположен источник 23 ионизированных газов. Снаружи стакана имеется трансформатор 24 с элементами 25 подключения к электрическому источнику энергии и посредством проводов 26 и выключателя 27 связанный с потребителем 28 вырабатываемой электрической энергии через выключатель 29 соединенным в единую электрическую цепь со вторым электродом 16 с размещенной на нем катушкой 17 и с первым электродом с размещенной на нем катушкой 18.
Выполнение стакана сборным позволяет осуществить замену отдельных его частей, так как в процессе работы устройства в полости стакана возникают значительные температуры.
К стакану 22 подсоединен патрубок 30, сообщающийся с полостью корпуса 1 и с которым связан турбомолекулярный насос 31, предназначенный для откачки полости корпуса 1.
К стакану 22 подсоединен и патрубок 32, с которым соединен форвакуумный насос, предназначенный для откачки полости стакана (насосы на графических материалах показаны фрагментарно).
Электронный пучок, направляемый на плазмообразующий материал, обозначен позицией 34. Сгусток плазмы обозначен позицией 35, а канал в средней его части - позицией 36. Скачок уплотнения обозначен позицией 37.
УСТРОЙСТВО ДЛЯ ПОЛУЧЕНИЯ
ЭЛЕКТРИЧЕСКОЙ ЭНЕРГИИ
РАБОТАЕТ СЛЕДУЮЩИМ ОБРАЗОМ
Ввиду того, что над поверхностью плазмообразующего материала, при воздействии на нее электронного пучка 34, образуется низкотемпературная вакуумная плазма с давлением в ее объеме от 6,65 Па и выше (во внутреннем канале с более низким давлением и с наружным давлением 6,65 Па), то для плотного потока электронов, ионов с нейтральными атомами действуют законы газодинамики на ограниченном участке вакуумного объема, занятом только низкотемпературной вакуумной плазмой (что подтверждается экспериментально). Электроны и ионы, образуемые при воздействии на плазмообразующий материал электронного пучка 34, двигаются со скоростью порядка 10 см/сек (что подтверждено многими публикациями). Для обеспечения эффективной работы устройства необходимо первоначально определить число Маха (М) для потока частиц с плазмообразующего материала. Проведенные исследования показали, что он может иметь значение в интервале от 1,1 до 3,0. Только при этих значениях образуется скачок уплотнения 37.
Для каждого значения числа Маха
выбирают значение угла (
)
при вершине лучепровода 10 (значения
получены экспериментальным путем).
Таким образом, угол 
устанавливается в пределах  18o ![]()
![]()
36o. При угле (
),
меньшем  18o, устройство имеет очень
большие габариты, а при (
),
большем  36o, затруднительно обеспечить
равномерную плотность сгустка плазмы.
Для обеспечения гарантированно
надежной и эффективной работы угол (
)
устанавливают в интервале  22o ![]()
![]()
28o.
Далее к корпусу 1 подсоединяют лучепровод 7,
механизм с гайками 8, которые навинчивают на
резьбовую поверхность втулки 9, соединенной
с лучепроводом 10, который выставляют таким
образом, чтобы вершина усеченного конуса
лучепровода 10 находилась в плоскости
сопряжения меньших оснований конусов 14 и 15
первого электрода. Резьбовое соединение
упомянутых выше деталей позволяет
осуществить быструю, точную настройку
устройства перед работой.
Далее к устройству подсоединяют потребитель 28 электрической энергии и трансформатор 24. Все разъемы проверяют течеискателем, после чего включают форвакуумный насос 33 и, после создания в полости стакана давления 6,65 Па, включают турбомолекулярный насос 31, который осуществляет откачку полости корпуса 1 до давления 6,65 · 10-3 Па.
Затем включают трансформатор 24 и разогревают катод 2 до температуры 1500 - 1600oC, при которой с его поверхности начинается интенсивное истечение электронов. Одновременно соответствующее напряжение подают на прикатодный электрод 3, анод 4 и магнитную линзу 6. Электронный пучок 34, распространяясь с высокой скоростью, попадает на установленный в тигле 20 плазмообразующий материал, в результате чего последний ионизируется и вторичные и отраженные электроны устремляются в направлении конуса 15, образуя сгусток 35 низкотемпературной вакуумной плазмы с каналом 36 в средней части сгустка, через который проходит электронный пучок. За счет того, что на пути плазменного потока, исходящего с плазмообразующего материала, установлен усеченный конус, то поток, как это известно из газодинамики, "чувствует" вершину конуса и начинает тормозиться, образуя скачок уплотнения 37. При этом электроны электронного пучка сами являются генераторами закрутки движущихся навстречу электронов и ионов, а так как плазмообразующий материал совершает вращательное перемещение, создавая температурный градиент между тиглем и первым электродом, то это и способствует улучшению условий закрутки. Наличие отверстий разного размера, выполненных в камере по окружности в одной плоскости, и расположение отверстия большего размера описанным выше образом позволяет создать разность давлений в потоке газа, проходящего через них, что увеличивает скорость раскручивания электронов и ионов (плазменного потока), закрутке которых способствует наличие упомянутого выше температурного градиента.
Электроны, масса которых значительно меньше массы ионов, раскручиваются ближе к оси электронного пучка, а ионы на более дальнем расстоянии образуют свои орбиты вращения.
Скачок уплотнения 37, состоящий из частиц испаряемого материала, тормозит частицы парогазового потока, движущиеся со скоростью 103 - 105 см/сек. За счет того, что сам электронный пучок является генератором закрутки, а скорость вращения потока зависит и и от величины тока электронного концентрированного пучка, то с увеличением тока скорость вращения частиц потока достигает 100 об/сек и более.
Так как электроны имеют массу порядка 10-31 кг, а ионы 10-27 кг, то радиусы их вращения резко различаются. Электроны осаждаются на поверхности второго электрода. В случае необходимости в эту среду вводят ионизированный поток из источника 23.
Между электродами создается достаточно большая разность потенциалов, которая по сравнению с питающим катод 2 напряжением может отличаться от двух до четырех и более раз. При параметрах закрутки частиц парогазового потока разность потенциалов может достигать весьма больших значений, соответствующих разности масс электрона и иона.
При преобразовании прямолинейного движения электронов и ионов во вращательное происходят многочисленные столкновения электронов и ионов, которые стремятся занять свое место во внутреннем объеме низкотемпературной вакуумной плазмы. Происходит перегруппировка огромного количества электронов и ионов. При этом, как известно из публикаций, электрон может разлагаться на гамма-кванты и выделять энергии в четыре раза больше, чем затрачивается на его дематериализацию. Электроны сталкиваются с более тяжелыми ионами и передают долю своей кинетической энергии в соотношении 4m1/m2, где: m1- масса электрона, m2 - масса иона. Условия осуществимости этого процесса подтверждены экспериментально.
Включением выключателя 29 подсоединяют к устройству потребитель 28 электрической энергии, а трансформатор 24 отключают от источника питания выключателем 27 и устройство начинает работать за счет собственной вырабатываемой энергии. При необходимости трансформатор может оставаться включенным. Это важно при замене подложки плазмообразующего материала.
В процессе работы устройства плазменный сгусток постоянно пополняется плазмой, генерируемой электронным пучком из плазмообразующей подложки 19.
Плазменный сгусток удерживают на протяжении рабочего времени, которое определяется необходимостью замены подложки или катода 2. При замене подложки стол совершает поворот на необходимый угол, вводя в зону действия электронного пучка следующую плазмообразующую подложку. Часть стола может выходить за пределы стакана. Это позволяет устанавливать в тигель 20 вместо отработанной новую заготовку плазмообразующего материала.
В процессе работы устройства разделение электронов и ионов происходит практически мгновенно за счет центробежных сил. При этом происходит подзарядка частиц испаряемого материала за счет взаимодействия с ионами, вращающимися вокруг сгустка плазмы, что способствует получению разности потенциалов между электродами до 1000 В и более.
Для создания дополнительных сил, способствующих удержанию плазменного потока и сгустка можно использовать электрические катушки 17 и 18. Это необходимо в случаях, когда скорость вращения плазмы превышает 100 об/сек.
Проверку работоспособности устройства осуществляли при следующих его параметрах:
- S - площадь отверстия сопрягаемых конусов (мм) - 1200
 - SIZ1; SIZ2; SIZ3 - суммарные площади отверстий в боковой стенке камеры (мм) - 1200, 1150, 1250;
 - электрический ток разогрева катода (A) - от 10 до 20;
 - температура разогрева катода (C) - от 1500 до 1600;
 - плазмообразующий материал - АМг6;
 - скорость перемещения плазмообразующего материала (м/ч) - от 30 до 35;
 - время удержания плазменного сгустка (ч) от 0,5 до 1,0;
 - рабочая нагрузка - три электролампы по 40 Вткаждая.
 
Ток и напряжение измерялись амперметром и вольтметром со шкалой до 1000 В.
Процесс формирования плазменного сгустка и его удержание фиксировались с помощью скоростной киносъемки (частота кадров до 2500 кадр/сек).
При SIZ1 - 1200 мм лампы горели ярко и стабильно.
При  SIZ2 - 1150 мм яркость горения
ламп не была стабильной, напряжение
менялось примерно на  5 - 8%. При суммарной
площади отверстий, меньшей площади
отверстия  S устройство работало не совсем
стабильно, таким образом соотношение 
является оптимальным.
Плазменный сгусток удерживался во взвешенном состоянии на протяжении всего рабочего цикла.
При SIZ3 - 1250 мм приборами было зафиксировано напряжение более 1000 В. Величина тока составила 10 А. В процессе работы устройства плазменный сгусток постоянно пополнялся плазмой, генерируемой электронным пучком из плазмообразующего материала, размещенного в тигле 20.
Таким образом процесс получения электрической энергии подтвержден физическим процессом разделения электронов и ионов и их вращением, что как раз и обуславливает условия функционирования источника энергии, при котором, что подтверждено экспериментально, выделяется энергии до четырех раз больше, чем затрачивается, не нарушая закона сохранения энергии.
Удержание плазменного сгустка происходит на протяжении всего процесса выработки электрической энергии, длительность которого регламентируется ресурсами катода и плазмообразующего материала.
Возможно использование устройства в качестве аккумулятора энергии (после отключения устройства лампочки некоторое время продолжали гореть).
Изобретение при его использовании позволяет получать электрическую энергию при условии соблюдения экологической чистоты процесса. Устройство может найти применение в отраслях, где осуществляется использование электрической энергии, например, при создании автомобильных генераторов. Устройство может быть использовано в качестве плазменных усилителей электростанций.
ФОРМУЛА ИЗОБРЕТЕНИЯ
- Устройство для получения электрической энергии, содержащее установленный в стакане корпус с анодом и катодом, имеющим возможность подключения к источнику электропитания, размещенными в корпусе, смонтированный на корпусе лучепровод, выполненный в виде конического сопла, через камеру с выполненными в ней отверстиями соединенный с экраном, состоящим из двух соединенных меньшими основаниями друг с другом усеченных конусов, причем вершина конуса сопла расположена в плоскости сопряжения оснований конусов, а под экраном в стакане размещена подложка плазмообразующего материала, в полости конуса экрана, обращенного к подложке, установлен коллектор, коллектор, коллектор и экран имеют возможность соединения с источником электропитания и потребителем, причем стакан имеет патрубки для соединения полостей корпуса и стакана с откачными насосами, отличающееся тем, что лучепровод установлен на корпусе с возможностью осевого возвратно-поступательного настроечного перемещения, а отверстия камеры выполнены в одной плоскости и имеют разные размеры, причем отверстие большего размера обращено в сторону патрубка, предназначенного для соединения полости стакана с откачным насосом, при этом суммарная площадь отверстий камеры не менее площади отверстия сопряжения оснований конусов экрана, а угол при вершине усеченного конуса лучепровода выбирают в интервале от 18 до 36o.
 - Устройство для получения электрической энергии по п.1, отличающееся тем, что оно снабжено дополнительными подложками, установленными на введенном в устройство столе, снабженном приводами поворота и возвратно-поступательного перемещения в двух взаимно перпендикулярных направлениях.
 - Устройство для получения электрической энергии по пп.1 и 2, отличающееся тем, что угол при вершине усеченного конуса лучепровода выбирают в интервале от 22 до 28o.
 
Версия для печати
Дата публикации 09.11.2006гг
Created/Updated: 25.05.2018
 |

